首页 昆明 正文
昆明交警一周曝光台:456人被记满12分 超速酒驾者占一半
​掌上春城    11-18 17:39:16

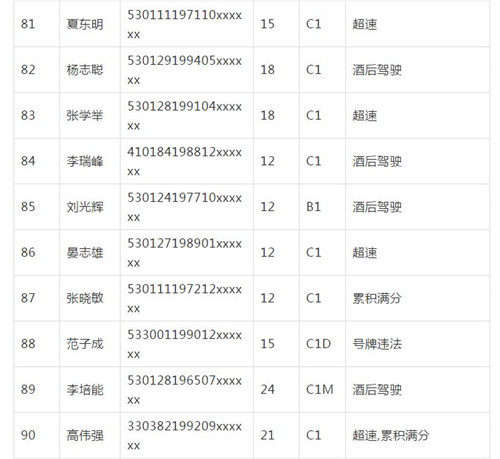
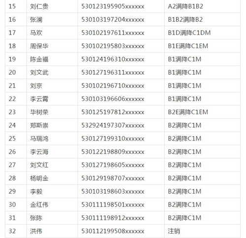
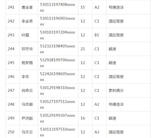
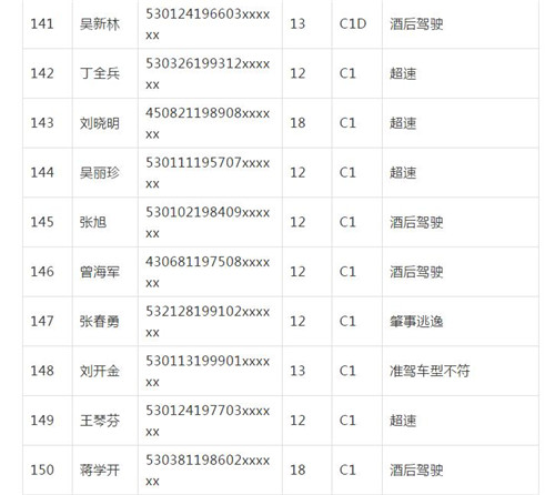
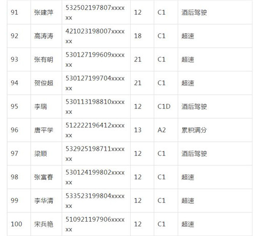
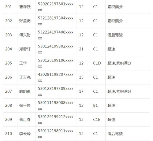
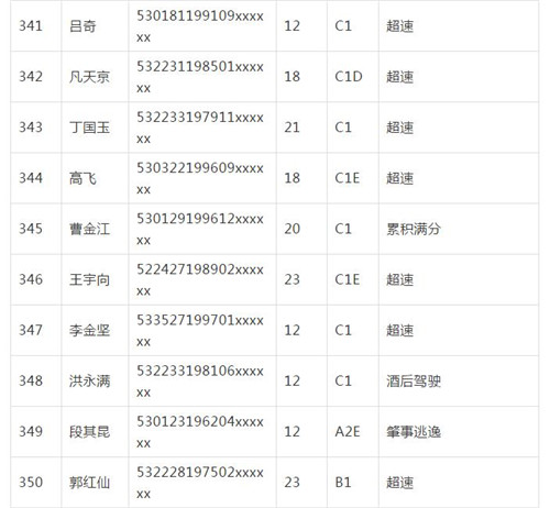
11月18日,记者从昆明交警了解到,本周共有456人被扣满分学习,其中超速酒驾者占一半,另有43人驾照被注销或降级,以下是具体名单:

1

2

3

4

5

6

7

8

9

10

11

12

13

14

15

16

17

18

19

20

21

22

23

24

25

26

27

28

29

30

31

32

33

34

35

36

37

38

39

40

41

42

43

44

45

46

47

48

(掌上春城 记者周婷)


编辑:徐婷    责任编辑:
相关推荐