首页 昆明 正文
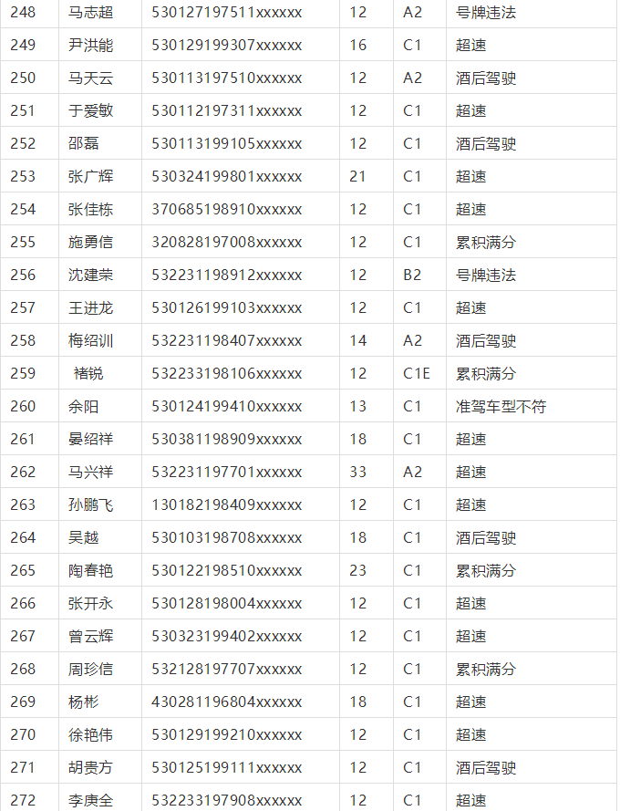
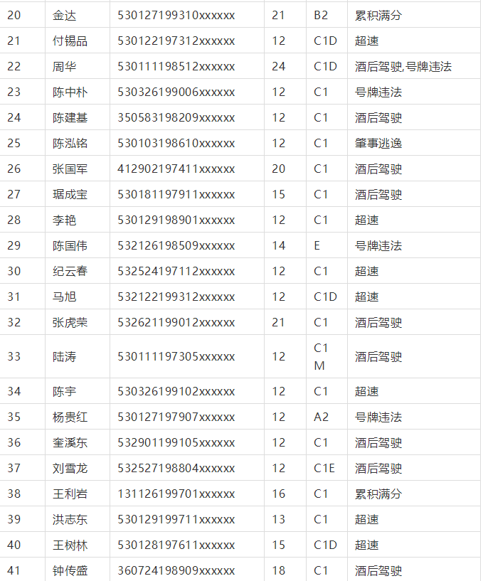
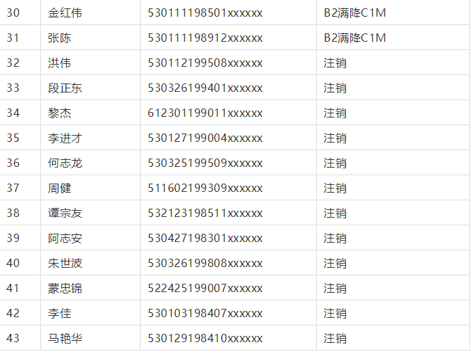
一周曝光台 昆明这456人驾照12分被扣完
昆明信息港    11-19 15:01:07

640.webp (14)

导读

为提高广大机动车驾驶人遵守交通法律法规的意识,督促驾驶人及时处理交通违法,昆明交警每周日推出违法“曝光台”,看看有你吗?(昆明信息港综合)

1

2

3

4

5

6

7

8

31

10

11

12

13

14

15

16

17

18

19

20

21

22

编辑:曹月    责任编辑:
相关推荐