企业基本养老保险、工伤保险单位注销登记指南
来源:昆明市呈贡区人力资源和社会保障局
企业基本养老保险、工伤保险单位注销登记指南
1 办理条件
参保单位因发生破产、分立、兼(合)并、解散、吊销和整体转移等情形,依法终止社会保险缴费义务,满足下列条件的,可申请注销社会保险登记:
a) 申请注销单位无参保缴费人员、暂停缴费人员、工伤保险待遇享受人员和退休人员;
b) 申请注销单位应缴纳的社会保险无欠费。
2 办理渠道
窗口办理、PC端办理。
3 办理时限
1个工作日。
4 收费标准
不收费。
5 申请
参保单位向所参保的社会保险经办机构提出注销申请,填写《云南省企业职工基本养老保险、工伤保险单位参保登记注销申报表》(见附录A表A.1),并提供有关职能部门批准单位撤销、注销、解散、合并、改制或成建制转出的文件。
6 结果送达
6.1 申请材料不齐全的,反馈《不予受理回执》。
6.2 不符合办理注销登记条件的,反馈《不予办理回执》。
6.3 办理注销登记的,反馈《云南省企业职工基本养老保险、工伤保险单位参保登记注销登记表》。
7 相关法律法规、政策文件
本文件涉及到的法律法规、政策文件包括:
a) 《中华人民共和国社会保险法》(中华人民共和国主席令第三十五号)
b) 《社会保险费征缴暂行条例》(中华人民共和国国务院令259号)
c) 《工伤保险条例》(中华人民共和国国务院令第586号)
d) 《云南省社会保险费征缴条例》(云南省第十届人民代表大会常务委员会公告第42号)
e) 《云南省社会保险局关于印发<云南省基本养老保险经办业务规程(试行)的通知》(云社险〔2004〕27号)
7 联系电话
0871-67475793
8 办理地点和办理机构
呈贡区呈祥街515号政务服务中心B区人社窗口
附录A
A.1云南省企业职工基本养老保险、工伤保险单位参保登记注销申报表.docx
A.2 云南省企业职工基本养老保险、工伤保险单位参保登记注销登记表.docx
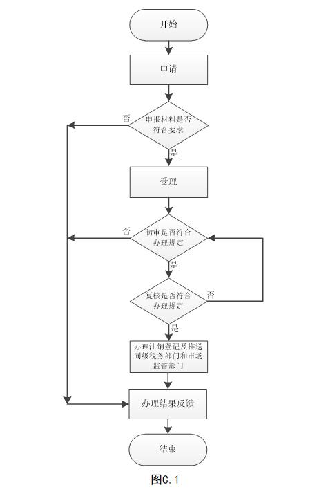
云南省企业职工基本养老保险、工伤保险单位参保登记注销办理流程图
