灵活就业人员参加企业职工基本养老保险参保登记操作指南
来源:昆明市呈贡区人力资源和社会保障局
灵活就业人员参加企业职工基本养老保险参保登记操作指南
1 办理条件
云南省行政区域内符合以下条件的人员可申请参加企业职工基本养老保险:
a) 年满16周岁(不含全日制在校学生)且未达到法定退休年龄的;
b) 从事个体工商户、自谋职业者以及采取各种灵活方式就业的;
c) 尚未领取养老保险待遇的。
2 办理渠道
窗口办理、PC端办理、移动端办理。
3 办理时限
1个工作日。
4 收费标准
不收费。
5 申请材料
灵活就业人员凭有效身份证明材料(社保卡或身份证等)向就业地县级社会保险经办机构提出参保申请,填写《云南省灵活就业人员参加企业职工基本养老保险参保申请表》(见附录A表A.1)。
申请参保人是港澳台居民的,需提供港澳台居民居住证。
6 结果送达
6.1 不符合参保年龄条件的,反馈《不予受理回执》。
6.2 存在重复参保情形或者已领取养老保险待遇的,反馈《不予办理回执》。
6.3 办理参保登记的,反馈《云南省灵活就业人员参加企业职工基本养老保险参保登记表》。
7 相关法律法规、政策文件
本文件涉及到的法律法规、政策文件包括:
a) 《中华人民共和国社会保险法》(中华人民共和国主席令第三十五号)
b) 《国务院关于完善企业职工基本养老保险制度的决定》(国发〔2005〕38号)
c) 《劳动和社会保障部关于完善城镇职工基本养老保险政策有关问题的通知》(劳社部发〔2001〕20号)
d) 《香港澳门台湾居民在内地(大陆)参加社会保险暂行办法》(人力资源和社会保障部 国家医疗保障局令第41号)
e) 《云南省人民政府关于印发<云南省企业职工基本养老保险条例实施办法>的通知》(云政发〔2006〕139号)
f) 《云南省人力资源和社会保障厅 云南省财政厅关于进一步做好企业职工基本养老保险工作有关问题的通知》(云人社发〔2016〕15号)
g) 《云南省人力资源和社会保障厅关于维护新就业形态劳动者劳动保障权益的实施意见》(云人社发〔2021〕40号)
h) 《云南省社会保险局关于印发<云南省基本养老保险经办业务规程(试行)>的通知》(云社险〔2004〕27号)
8 联系电话
0871-67475793
9 办理地点和办理机构
呈贡区呈祥街515号政务服务中心B区人社窗口
附录A
A.1云南省灵活就业人员参加企业职工基本养老保险参保申请表.docx
A.2云南省灵活就业人员参加企业职工基本养老保险参保登记表.docx
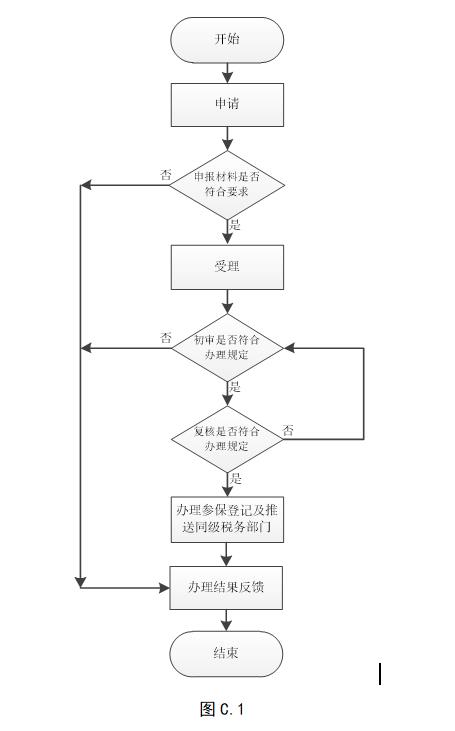
灵活就业人员参加企业职工基本养老保险参保登记流程图
